New Technology for a New Century
International Conference 
FIG Working Week 2001, Seoul, Korea 6–11 May 2001

Session 10 - Cadastral Trends: Institutional and Legal

THE PILOT PRODUCTION OF TOPOGRAPHIC-CADASTRAL MAPS AND ITS APPLICATIONS IN KOREA

Prof. Yun-Soo CHOI and Prof. Byung-Uk PARK, Korea

Key words: NGIS, Thematic map, Topographic-cadastral map, Administrative boundary map, Data model.


Abstract

The Government confirmed the action planning of digital mapping project for major thematic maps based on 'Revised Plan for The Development of the National Geographic Information System' (NGIS). Mapping for major thematic maps was begun in 1998 when digital mapping project for topographic maps finished due to the delay of the action planning, and will selectively have produced the essential digital thematic maps according to the frequency of usage by the year of 2000.

The models of topographic-cadastral maps and administrative boundary maps around Suwon were produced in accordance with the presented draft. We presented specification for production of the most appropriate topographic-cadastral maps and administrative boundary maps through the analysis of the process of production, discussion and error check, and correction of the produced topographic-cadastral maps and administrative boundary maps. And we could make it easier to develop digital mapping project of topographic-cadastral maps and administrative boundary maps effectively by presenting the strategy for data input and maintenance, the cost model for carrying out the digital thematic map production, digital topographic maps, and the supplement of data model and data format.

Topographic-cadastral maps has a wide range of usage but a lot of difficulties in the process of production and map update under use. So it seems that the study on users, university, private sector and municipal self-government must follow for promoting the use of topographic-cadastral maps.

1. PREFACE

In addition to national base map, converting major thematic maps into digital map can have the widespread effect on extending GIS market and on the use of GIS because it can cause vast potential demands and is applicable in various fields. It often happens that the location of relevant parcel should be identified on the present topography when a public agency plans and manages administrative affairs.

Because topographic map and cadastral map are correlated with each other, they are often used together. However, cadastral map is the data related to the ownership, so it has a limited use. Some troubles can be caused because there is a miss matching part when topographic map and cadastral map are overlapped.

Consequently in this study topographic-cadastral map was pilot-produced and the most suitable specification for topographic-cadastral map production was presented through overlapping them, taking Suwon as example. It can be used in administrative department and private sector which aren't related to land ownership.

2. ANALYSIS OF THE PRESENT CONDITION OF TOPOGRAPHIC-CADASTRAL MAP AND USERS' DEMANDS FOR IT

2.1 The present condition of topographic-cadastral map

2.1.1 Topographic map

Topographic map usually approved as National Base Map is the map which is produced and distributed by National Geography Institute (NGI). And it is one of the accomplishments made by basic survey (Article 1 of the Surveying and Mapping Law). There are maps drawn on a scale of 1/5000, 1 /10,000, 1/25,000, 1/50,000, 1/100,000, and 1/250,000. A map is designated as base map when it is standardized, accuracy is uniformed and it is drawn on the largest scale. Digital mapping project of topographic map is superintended and implemented on the basis of the master plan for the development of the National Geographic Information system by National Geography Institute, geographic information subcommittee. There are 5 subcommittees in NGIS: coordinating and planning subcommittee, geographic information subcommittee, land information subcommittee, standardization subcommittee and technology development subcommittee.

Digital map is produced on the basis of Specification for Digital Mapping at Scales between 1/1000 and 1/25,000 and classified into 9 Layers such as rail way, stream, road, building, tributary, institution, topography, administration, regional boundary and cycle. Feature code which belonged to Layer is given 750 definitions and consisted of the 4 level NGI feature classifications -first, second, third, fourth level.

2.1.2 Land cadastral map

Cadastral map is cadastral map and forest cadastral map. It is cadastral records for registration and official notification of boundary which shows shape of parcel and extending scope of a real right like land ownership.
Cadastral map (forest cadastral map) is a kind of cadastral records where address of parcel, land use category, boundary and the specification made by the Ministry of Government Administration and Home Affairs(MOGAHA) are registered. It is also a map for managing land and for protecting land ownership. (Articles 1 and 10 of the Cadastral Law).

Cadastral map is a map which shows boundary of parcel registered in cadastral land book, and cadastral forest book is a map which shows boundary of parcel registered in cadastral forest book. There are cadastral maps drawn on a scale of 1/500, 1/600, 1/ 1,000, 1/1,200, 1/2,400, 1/3,000, and 1/6,000 , and cadastral forest maps 1/3,000 and 1/ 6,000.

2.2 Analysis of users' demands

The survey consisted of 40 questionnaires concerning topographic-cadastral maps. It was analyzed users' demands of 375 institutions and companies. About 40 % out of them responded to the survey.

1) Concerning thematic map

  • Needs of digital thematic map (topographic - cadastral maps)

84(59%) institutions or companies answered that a digital thematic map was necessary. 27 (19%) felt it necessary but not applicable in technical use. 16 (11%) answered that it was acceptable to use a paper map in their working situation. It was analyzed that many institutions or companies felt thematic map necessary but some felt operating computerized data as burden.

  • The result of survey on the difference between the last accomplishment and the initial expectation to thematic map

The survey showed negative facts in using thematic map. The result was that 53 institutions and companies felt editing necessary for geographic information system, 35(19%) felt it still needed reliability because of errors, and 35 (19%) felt it difficult to take measures for reform and correction. It resulted from that it didn't reflect users' demands and was not accurate. Improvement is urgent because only 14(8%) was satisfied with it.

  • The result of survey on the problems caused when developing GIS by using thematic map

They answered as follows: 65(38%) experienced edge miss matching, feature code error and omission, 30(18%) experienced the problem of unclosed polygon, 13(8%) experienced the error with name of the file, cartographic lettering error and omission, 29(17%) have never used digital map, 23(14%) were mostly satisfied. When developing GIS, it was necessary to solve the problems during inspection concerning production of continuous edited cadastral map for parcel address, miss matching when overlapping topographic map with it, error and omission.

2) The sequency between digital map and thematic map
  • The survey on disagreement of thematic maps including land cadastral map and digital map

72(35%) out of them agreed that it was the most important to conduct a precise research and study when developing thematic map. After that basic problems should be solved. 41(20%) agreed that it was all right to overlap the present data artificially unless they were not used for survey and map. 41(20%) agreed that it was hard to expect to develop GIS when it couldn't be overlapped.

  • The result of survey on how to correct digital map and land cadastral map

The survey on how to correct thematic map which overlapped topographic map with digital map didn't present a concrete way:59(50%) thought it was reasonable to use land cadastral map which was simpler than topographic map, 21(18%) thought it was impossible to correct them and 20(17%) didn't have any idea about it.

  • The result of survey on production and use of applicable program

When producing and using applicable program by way of digital map and thematic map, the big problems were as follows; there was a shortage of professional human resource and equipment (43, 22%), time was spent excessively for structural edit (43, 22%), most of the data should be automated and structured through program (43, 22%), there were too many impossibilities in structuring simple graphic data (22, 11%), and there were basic requirements such as continuous road center line, use of the same point for turning point and abolishment and amalgamation of polygon (22, 11%).

3) Concerning land cadastral map
  • The result of survey on the kinds of a reduced scale used in forest cadastral map and retained by institutions

If the classification of a reduced scale of forest cadastral map according to the kinds was understood, the most often used scale could be applied for thematic map production. The order of retained scale is 1/1200(29%), 1/500(21%), 1/600(19%), 1/3000(18%), 1/2400(4%) and etc.

  • The result of survey on the problems caused when land cadastral map is computerized

Each institution presented a problem according to its work. Among them the frequent and important problems were presented as follows; disagreement between cadastral and topography and how to solve it, the difficulty of updating due to shortage of professional human resource and equipment, technical problem in using information (shortage of professional human resource), and the sequency between land cadastral map and land cadastral register, and securing the accuracy.

3. THE MEASURES FOR DEVELOPING AND USING TOPOGRAPHIC-CADASTRAL MAPS

As a result of survey, the measures were decided for developing topographic-cadastral maps by way of digital topographic map as follows, analyzing preliminary work and considering the scope of use.

3.1 The scope of using topographic-cadastral maps

It was important to understand what the user's demands for information of land was when developing thematic map related to land. The demands for information of land could be classified as follows.

Firstly, it was the original sheet of cadastral map computerized into a sheet of land cadastral map (forest cadastral map). This satisfied the demands for administrative affairs handled on the basis of land cadastral map. It should maintain the original shape and needs the accuracy.

Secondly, it was the continuous edited cadastral map for parcel address made through matching each sheet according to administrative district or a reduced scale.

This map was necessary to understand the present state by using real land cadastral map or to conduct basic analysis like writing out statistics and research. This continuous land cadastral map had some problems such as miss matching between cadastral maps and forest cadastral maps, discrepancy between current state and cadastral map, and miss matching between cadastral map edges. It was due to the problems caused in restoring expired survey control point, the problems with the control point and survey technique caused during the period of writing. It ran short of accuracy compared with original maps but it was used in administrative department.

Thirdly, it was topographic cadastral maps and continuous cadastral maps made by way of using topographic map and land cadastral map. They were necessary to overcome the double work when we were establishing each plan, drawing topographic map and notifying it. Because topographic-cadastral maps were edited in accordance with real topography, there is only a little change in the shape of parcel. But the location was so accurate that they were necessary for conducting the work associated with the land like establishment of plan and the expectation for the effect was high.

The result of survey on the use according to each work of municipal self-government showed that 50% work was conducted at city offices and 57.6 % work at district offices using land cadastral map and topographic map at the same time.

3.2 The measures for developing topographic-cadastral maps

As a result of survey, the direction was presented for developing topographic-cadastral maps, considering the scope of use and analyzing the preliminary work.

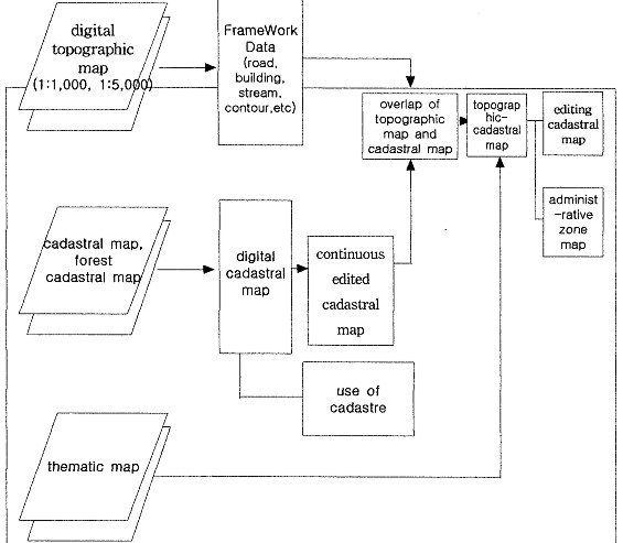
First a sheet of digital land cadastral map was produced after photocopying register of parcel coordinates and scanning land cadastral map. Next it was edited into continuous cadastral maps and developed topographic-cadastral maps by overlapping digital topographic maps and cadastral maps. After producing respectively three kinds of maps such as a sheet of digital cadastral map, continuous edited cadastral map for parcel address and topographic-cadastral maps, they could be used according to the purpose of use and usage. When digital topographic maps were chosen and used, they should be suitable to a reduced scale of land cadastral maps of target area to prevent repeated investment, to connect and integrate with other GIS afterward. Administrative zone map was produced through administrative district code (law district code) input in topographic-cadastral maps as attribute data. A sheet of digital cadastral map was produced for the following computerizing process of land cadastral map, based on the specification for digital cadastral map. (Figure 1. Developing and using topographic-cadastral maps)

There were two ways for topographic-cadastral map production. One was to overlap land cadastral map on topographic map, a base map. The other was to overlap topographic map on land cadastral map, a base map. When using cadastral map as base map, there were so many different reduced scales that miss matching of edge area was caused. And the data of topographic map was too much for coordinate transformation to overlap it on land cadastral map. Consequently in this study precise process was presented and topographic-cadastral map was pilot produced based on overlapping the land cadastral map. The map should be easy to edit, had a little information and was drawn mostly with a straight line considering digital topographic map as base map.

Figure 1. Developing and using Topographic-Cadastral Maps

4. THE MEASURES FOR PILOT PRODUCTION AND IMPROVEMENT

4.1 Pilot production

In this study a sheet of digital cadastral map for parcel address was produced after scanning of land cadastral map and photocopying cadastral map based on a sheet of topographical map of Suwon drawn on a scale of 1/25,000. After that continuous edited cadastral map and topographical cadastral map were developed using it. The important process of pilot production of topographic-cadastral map is as follows (Figure 2. Work Flow of Topographic-Cadastral Map Production)

  • Planning and preparing for work

Preparing for collecting data: index map of cadastral map and digital topographic map drawn on a scale of 1/1,000 and 1/5,000 according to scales and administrative district

Figure 2. Work Flow of Topographic-Cadastral Map Production

  • Scanning land cadastral map and photocopying register of parcel coordinates

Register of parcel coordinates and origin drawing of reduced cadastral map of pilot production area were scanned and photocopied. The specification for digitalization of cadastral map of the Ministry of Government Administration and Home Affairs was applied in a sheet of digital cadastral map to be used in the following project of computerizing cadastral map.

  • Coordinate transformation

Coordinate transformed into cartesian coordinate system on the basis of each point of four corners of scanned cadastral map.

  • Semi-scanning

Semi-scanned, indicating adjacent raster file on screen. After finishing correcting vector data, it was confirmed that there was no silver polygon between polygons and corrected. After input, it was inspected by way of comparing origin drawing with output photocopied sheet.

  • Production of continuous edited cadastral map for parcel address

After solving the problems like discrepancy between cadastral map and topographic map, and the problems like present control point and expansion and shrinkage of cadastral map which cadastral map had, a sheet of land cadastral map as well as continuous edited cadastral map for parcel address and topographic-cadastral map were necessary to handle the land systematically. The spatial data related to land cadastral map was developed in the order of a sheet of cadastral map, continuous edited cadastral map for parcel address and topographic-cadastral map.

  • Merger of topography and cadastral map for parcel address

Cadastral limit was edited on the basis of road line, building line and riparian boundary line by way of topographic maps drawn on a scale of 1/1,000 and 1/5,000 which was the data of NGIS. Also land cadastral map was edited by way of main feature layer when it was necessary. Although cadastral limit was overlapped on topographical map, it didn't accord totally with the boundaries of road, paddy field and arable land. So they were edited to accord cadastral limit with the boundary of main feature of topographical map.

4.2 The measures for improvement

When maps were pilot produced taking Suwon as example in this study, there was no guidelines for topographic-cadastral map production. The measures presented in the process of pilot production are as follows.

1) The problem of datum origin

Then Korean government established local datum in Kyeonggi province and Daegu, and surveyed them before Korea land survey project. These were called old geodetic datum areas. Suwon, a model area for pilot development, was the place where Korea geodetic datum and old geodetic datum were adjacent. This was the place which had a difficulty in edge matching because sheet lines were overlapped when putting together cadastral maps. After understanding precisely old geodetic datum included in the cadastral map, digital data of land cadastral map of old geodetic datum area was coordinate transformed into the coordinates of Korea geodetic datum. For this, displacement of geodetic datum, azimuth and rotation angle were calculated, and used as parameter for coordinate transformation of break point of boundary.

2) The problem caused when merging maps

It was solved to accord the boundaries of the area adjacent to edges of land cadastral maps by way of GIS and S/W. The discrepancy between sheets of cadastral maps was found in the boundaries of adjacent edges as well as in the case of being adjacent because law district was changed according to a equally reduced scale. It was also found when sheets of differently reduced scale were adjacent and when sheets of disagreement area between cadastral map and present surveying result in a equally reduced scale were adjacent. When adjacent edge lines between each sheet were in discord, the shortest boundary point of parcel in both ends of edge area was connected by a straight line and the other lines were eliminated. When the lines were overlapped, cadastral limit was closed in one map and the cadastral limit of the other was not closed. In this case, the closed cadastral limit was restored and the unclosed cadastral limit was eliminated. When the cadastral limit of small scale map was isolated in an adjacent area of different scaled maps, it was eliminated on the basis of the cadastral limit of big scaled map. In the case parcel which was not related to surroundings was overlapped, the cadastral limit was eliminated according to parcel number. It was the best way to decide which line to choose through topographic field survey to accord different types of disagreement.

3) The problem caused when inspecting

The steps of inspection on the accomplishment of pilot development were considered important when this study was under way. The ways to evaluate the quality and the accuracy of thematic map were various according to the types of data and the way of inspection. The evaluation of the quality of data was for deciding whether thematic map was suitable to target usage, and it was divided into two ways: one was to evaluate absolute accuracy to compare input thematic map with feature of real world and the other was to evaluate relative accuracy between graphic information of produced thematic map and attribute information. Whole number inspection, sample inspection, overlapping inspection, computer inspection and automatic inspection appeared to be appropriate ways to inspect thematic map. The process of real inspection was in the order of inspection with naked eyes, inspection of screen, inspection by digital map program and inspection of completion. At first all was inspected on the basis of 80% sampling but 85% sampling was used for inspection with naked eyes and screen inspection to improve the accuracy. Eventually in the cases of inspection by digital map program and completion inspection, the accuracy of accomplishments was improved through whole number inspection.

4) The measures for improvement of digital topographic map

As the project of development of NGIS started, computerization of topographic map which was national base map was conducted during the short period. Because of this reason following correction and supplement were needed. In the case of disagreement between topographic map and present topography, it cost a lot of money and took time for surveying extra correction or research again on it. The measure should be taken to make use of the accomplishment of development of GIS conducted in municipal self-government or public institution rather than conduct extra project.

Next step was data modelling and format. Format of digital topographic map and layer system should be added and supplemented in accordance with use of GIS in various fields. Korean Framework Data should be developed for making the most of digital topographic map, for improving accuracy and preventing double investment on the development of data during the process of thematic map production. It was also necessary to simplify and standardize the way of transcribing on the present digital topographic map. For example when road center line was drawn, an imaginary center line was drawn on the crossing when one-way street and both-way street crossed each other. In the case one-way street and both-way street crossed, an imaginary road center line was drawn on the one-way street and on the node in the center of crossing. When each feature was drawn like this, it was necessary to review classification system and classification method for classification of feature, considering the importance of each feature.

5. GUIDELINES FOR TOPOGRAPHIC-CADASTRAL MAP PRODUCTION

In this study guidelines for topographic-cadastral map production was presented through pilot production. It consisted of chapter 1 (General rules) and chapter 2 (detailed work according to process and annexed standardization of map symbols). Chapter 1 included general contents such as aim, definition of the term, coordinate, standard feature code and work flow. In chapter 2, the course of work was detailed. Table 3 is the content of guidelines for topographic-cadastral map production presented in this study (Table 1. The specification for topographic-cadastral map production presented during pilot production)

Table 1. The specification for topographic-cadastral map production presented during pilot production

6. CONCLUSION

In this study topographic-cadastral map which was often used among major thematic maps was pilot produced for case city of Suwon according to detailed plan for digitalization of major thematic map. It was included in master plan for the development of NGIS. The conclusion was as follows.

  1. The best standard working process for development of topographic-cadastral maps was developed on the basis of the result of study, and trial and error during pilot production.
  2. The measures was presented for solving the main problems caused in inspection, disagreement in matching maps and disagreement of coordinates caused in pilot production of topographic-cadastral map.
  3. In this study "guidelines for topographic-cadastral map production" was presented for details like standard of how to work and process necessary for digitalization of topographic-cadastral map.
  4. The measures were presented for developing, maintaining handling data and the direction for conducting map production according to the state of raw data each municipal self-government had.

Consequently topographic-cadastral maps can be used widely in many fields but they have many difficulties caused during the process of production and the problems concerning reform of maps which were being used. It was concluded that user-oriented study at municipal self-government, private sector or university was more necessary, which meant the study on the fields using topographic-cadastral map as base map although it was good to maintain accuracy and make use of digital cadastral map.

REFERENCES

  1. National Geography Institute, 98 the pilot thematic maps production project (topographic-cadastral maps and administrative zone maps)
  2. Y.S.Choi, Production of Topographic-Cadastral Map Using Digital Topographic Map, KSGPC, Vol 18 No.4, 2000
  3. B.C.RYU, Improvement of Cadastral System in Korea, ITC, 1989
  4. Ministry of Government Administration and Home Affairs, A Study on the Rules of Conversion of Cadastral Maps into Digital Data and the Computerization of Cadastral Maps, 1997
  5. Ministry of Government Administration and Home Affairs, Report on the Pilot Project of Land Information System, 1997

CONTACT

Prof. Yun-Soo Choi
Department of Geoinformatics
University of Seoul
Jennong-Dong 90
Dongdeamun-ku
Seoul 130-743
KOREA
Tel. + 82 2 2210 2430
Fax + 82 2 2246 0168
E-mail: choiys@uoscc.uos.ac.kr 

Professor Byung-Uk Park
Department of Civil Engineering
Hankyong National University
Seokjeong-Dong 67
Ansung City
Kyonggi-Do 456-749
KOREA
Email: ukpark@hnu.hankung.ac.kr 

15 April 2001


This page is maintained by the FIG Office. Last revised on 15-03-16.